KYN28-12 (High Voltage Switchgear)

KYN28-12 series indoor metal armored center-mounted removable switchgear is a three-phase AC 50HZ single bus segment system or double bus segment system indoor complete power distribution device. It is used to receive and distribute 3.6-12kV network power, and implement control, protection, monitoring and measurement of power circuits.

KYN28-12 series switchgear includes all solution products with rated stable current from 16kA to 50KArated current of main bus and branch bus from 630A to 3150A. Its products all comply with nationa GB3906,DL403,DL404 standards and international IEC298 standards.


  • KYN28-12 (High Voltage Switchgear)
  • KYN28-12 (High Voltage Switchgear)

Product Detail

Description of The Product

● The KYN28-12 series switch cabinet is a fully assembled mid-mounted structure. The cabinet body is made of 2mm aluminum-zinc steel plate, processed by CNC processing equipment, and connected by high-strength bolts. The cabinet has a reasonable layout, complete functions, and has the ability to prevent misoperation. Circuit breaker, prevent the handle cart with load, prevent the grounding switch from being closed with electricity.

● Its compact structure, high interchangeability of hand carts, ample cable room space, convenient maintenance, and its overall performance reaches the advanced level of foreign similar products.

● On this basis, the F-C circuit switchgear developed and produced is a new type of power distribution device that combines high voltage fuse with vacuum contactor, and has the advantages of compact structure, small volume, low noise, high reliability, and long-distance remote control operation in the central control room.

● This product can be widely used in metallurgy, petrochemical, power plant and other departments, and is mainly used to control and protect motors, transformers and capacitor banks.

Structure and Characteristics

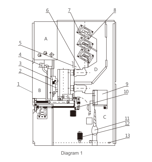
KYN28 series switch cabinet consists of cabinet body and functional unit compartments installed with different electrical components. See Figure 1

A.Instrument room   B.Handcart room   C.Cable room   D.Busbar room   

1. Cabinet body   2.Circuit breaker handcart   3.heater   4.Secondary socket and interlock   5.Valve mechanism   6.Contact box   7. Bus sleeve   

8. Main bus bar and branch bus bar   9.Current transformer   10.grounding switch   11.primary cable    12.lightning arrester   13.Grounding bus

KYN28-12

1.Cabinet

The KYN28 series switchgear cabinet body and each functional unit are made of 2mm aluminum-zinc steel plate processed by CNC machining equipment, and connected with high-strength bolts. (See Figure 2) Its products are very suitable for mass production and assembly, with dimensional accuracy is quaranteed, good interchange ability, all materials have strong oxidation and corrosion resistance, and have higher strength and stiffness than welding cabinets.The overall design meets the IP4X protection grade.

2.Functional unit
The KYN28 series switch cabinet has four functional unit compartments, namely the handcart room, busbar room,cable room and position table room. They are separated from each other by metal plates. See Figure 1.

● Trolley room
The trolley room is equipped with a specific guide rail, so that the trolley can slide and work in it. The trolley has a working position and a test position (isolation position). When the trolley enters the working position from the testing position, the valve blocked on the fixed contact box will be pushed open, so that the moving contact of the trolley will be inserted into the fixed contact. When the trolley is pulled out, the valve will automatically drop again, which can prevent the operator from touching the live body. When the trolley is pulled out, the operator can also lock the valve to prevent the trolley from being pushed open and accidents occur. The trolley room can be equipped with circuit breaker trolley, voltage transformer trolley, isolation trolley and meter measuring trolley.

The trolley can be operated when the switch cabinet door is closed, and the position of the trolley and the status sign of the trolley can also be seen through the observation window on the door. Even if the door of the trolley compartment is opened, its protection level can still reach IP2X.

KYN28-12

● Busbar room

The design of the bus room fully considers the installation mode of the main bus during the installation construction by users, so that the construction workers can conveniently install the bus by opening the rear baffle plate without climbing to the top of the cabinet.

The baffle plate between the seamented busbar passes through the cabinets is the wall bushing made of insulating and flame-retardant material, which can not only support the main busbar, but also limit the spread of the situation when an internal fault occurs.

● Cable room

The cable room has abundant space to install and overhaul current transformers, grounding switches, lightning arresters and cables.

The usage of cables can reach up to three to six groups. In the design, the special requirements of users are also taken into account, so that the installation height of the electrical system can reach more than 750mm. See Figure 1.The bottom plate structure of the cable room is also very suitable for construction workers to conveniently install cables.

● Instrument room

The instrument room can be equipped with relay protection components, instruments and other secondary equipment.The relay screen is pre-opened with installation holes to conveniently install the relay components. The control cable is laid in the wiring slot with sufficient space and is covered by a metal cover plate. The left wiring slot is reserved for the lead in and lead out of the control wire.

The control wire of the switchgear itself is laid on the right side, and the control wire crossing hole is opened on the side panel of the instrument room for construction.

● Pressure relief device

There are pressure release devices above the trolley room, bus room and electrical system room, When an internal fault occurs in the cabinet and arcs occur, the sharply rising air pressure will quickly open the release device so that the internal gas can be discharged in time, ensuring the safety of operators and switchgear cabinets.

When the switch cabinet is working normally, the special structure of the pressure release device can help dissipate heat, so that the temperature rise of each part of the primary circuit in the cabinet can always be kept within the normal working range.

● Interlocking device

The KYN28 series switchgear is also equipped with a flexible and reliable five-protection interlocking device, which provides a reliable guarantee for preventing accidents and the safe operation of the equipment. When the grounding switch is in the opening position, the trolley can be pushed from the testing position to the working position, and the circuit breaker trolley can only be pulled-in or pulled-out when it is opened; When the circuit breaker trolley is in the testing position or working position, the closing and opening operation can be carried out; When the trolley is in the working position, the grounding switch cannot be closed and the secondary plug cannot be pulled out; When the grounding switch is closed, the trolley cannot be pushed to the working position.

● Grounding device

Connecting the main grounding busbars of each cabinet together with the preset connecting board.Connecting all the leads to be grounded in the switchgear.

Connecting the foundation frame with the grounding bars. If there are more than 10 cabinets arranged,there must be more than two grounding bars.

Connecting the grounding wire of the grounding switch with the main grounding bus of the switchgear.

  • Write your message here and send it to us